永赢金租打响蛇年金融债第一枪,低利率促金租行业融资热情高涨
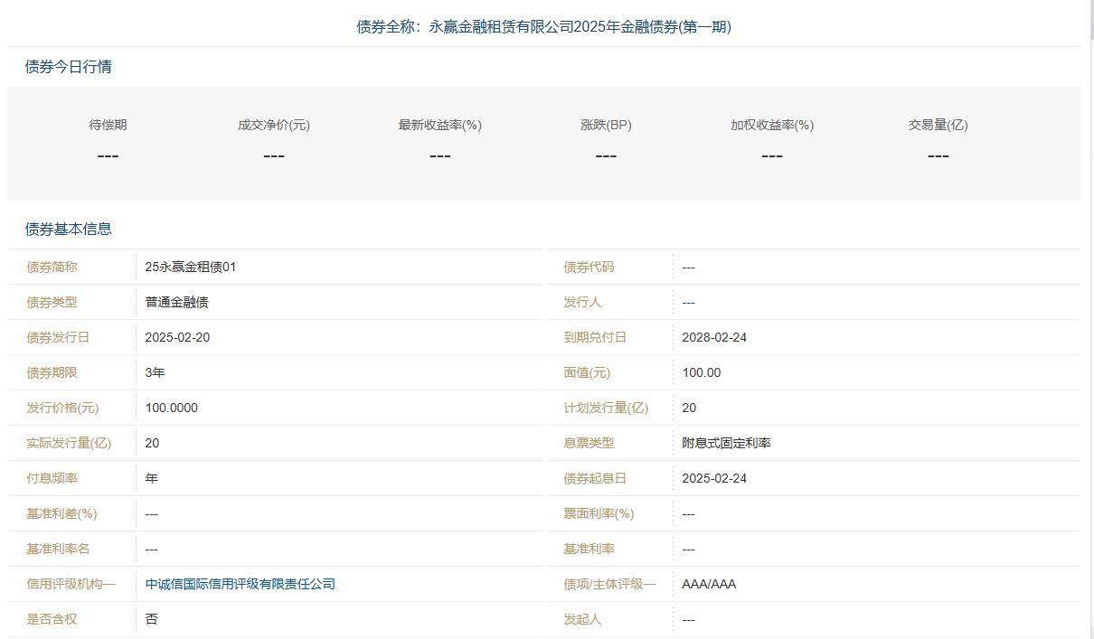
永赢金融租赁有限公司(简称“永赢金租”)近日成功在全国银行间债券市场推出了其最新金融债券“25永赢金租债01”,发行规模达到20亿元人民币。此次债券的发行标志着蛇年金租行业在金融债领域的首次亮相,且票面年利率申购区间下限创新低,设定为1.60%。
回顾今年初,金融租赁行业内的发债活动颇为活跃,包括建信金租、海晟金租、徽银金租、江苏金租以及浦银金租在内的多家公司均积极发行金融债。据中国货币网数据显示,截至目前,已有6家金租公司累计发行金融债总额超过100亿元,这一速度相较于去年同期显著提升。
业内专家分析指出,当前低利率的市场环境是金租公司积极发债的重要推动因素,此举有助于各公司优化自身的资产负债结构。在永赢金租的例子中,公司表示其负债以短期同业借款为主,而租赁项目期限则普遍较长,这种期限错配现象增加了运营风险。因此,此次发行的“25永赢金租债01”资金将主要用于置换到期债务,以优化负债结构。
永赢金租并非首次涉足金融债市场。自2019年以来,公司已多次发行金融债券,累计发行规模高达150亿元。其中,2019年和2020年发行的两笔金融债共计30亿元已到期,而2023年发行的15亿元金融债也将于明年到期。通过这些债券的发行,永赢金租不断调整其负债结构,以适应业务需求。

华南某券商分析师指出,金融租赁公司作为非银金融机构,在负债端管理上缺乏存款等手段,因此主要依赖同业借款、同业拆借以及债券融资等方式。他进一步解释,部分金租公司面临资产负债期限错配问题,即资产端期限较长而负债端期限较短,这增加了负债的不确定性。通过发行以3年期为主的金融债,金租公司能够补充中长期稳定资金,有效改善期限错配问题。
事实上,不仅仅是永赢金租,今年年初发行金融债的建信金租和海晟金租等公司也均提及了优化资产负债结构作为募集资金的主要目的。当前金租行业金融债的发行成本维持在历史低位,进一步激发了金租公司的发债热情。
例如,建信金租今年初发行的金融债利率已低于1.7%,江苏金租和浦银金租的发行利率也均降至1.75%。尽管永赢金租尚未公布此次金融债的具体票面利率,但根据官方披露的文件,票面年利率的申购区间设定在1.60%至2.10%之间。大公国际的统计数据显示,去年1月至11月,金租公司发行的3年期信用债加权平均利率为2.33%,较2023年全年下降了0.61个百分点。
在低利率环境和“资产荒”的双重影响下,近年来金租公司的债券融资成本持续下降。业内专家预计,随着融资渠道的多元化和低利率环境的持续,金租公司将继续探索中长期融资渠道,以进一步优化资产负债结构。
相关阅读
-
ipadmini2现在还能用吗,苹果ipadmini2现在还能用吗
2023年ipadmini2还能用吗?根据目前的技术发展趋势来看,2023年的iPad mini 2可能已经过时,无法满足最新的软件和应用程序的要求。随着时间的推移,新的操作系统和应用程序通常需要更高的处理能力和更大的内存。因此,尽管iPa
-
华为p20pro,华为p20pro上市时间和价格
华为P20 Pro值得入手吗?你好,华为p20pro是一款非常不错的手机。如果你没有以下问题,那是真心非常建议你立即下手购买的了。1,如果你很穷,只买得起红米、小米,那么,很显然,你不值得入手华为p20rpo的了。2,如果你就是看不惯国产手
-
越南计划成为半导体领先国家,雄心壮志与挑战并存
随着全球半导体市场的不断扩大和技术的飞速发展,越南作为一个具有潜力和优势的新兴经济体,正计划成为半导体领域的领先国家,这一雄心壮志的背后,既体现了越南政府对半导体产业重要性的认识,也反映了该国在半导体领域的独特优势和发展潜力,本文将探讨越南
-
深度解析,三星I9100——一部经典的智能手机传奇
亲爱的读者,你是否曾对一款手机的历史和影响力感到好奇?我们要聊的是那个曾经风靡全球,引领智能手机潮流的明星——三星Galaxy S II,型号为I9100,这款手机就像一部活生生的历史教科书,展示了科技与设计如何完美融合,让我们一起走进它的
-
揭秘荣耀,从创新到引领,华为荣耀的崛起与未来趋势分析
在科技飞速发展的时代,华为荣耀作为华为集团的重要子品牌,始终以其独特的技术创新和产品魅力独树一帜,成立于2013年,荣耀凭借其对互联网思维的敏锐洞察,迅速从众多智能手机品牌中脱颖而出,成为全球年轻用户喜爱的品牌之一,我们就带你深入探究荣耀的
-
深度探索,联想A370e手机,实用与创新的完美结合
在这个科技日新月异的时代,一款优质的手机不仅是我们日常生活中的得力助手,更是我们了解科技魅力的窗口,我们将聚焦联想A370e,这款以实用性和创新性并重的智能手机,带你走进它的世界,感受其独特的魅力。联想A370e的外观设计:简约而不简单联想

