小米AR眼镜官博亮相,多项专利曝光,智能穿戴新风口来了?
近日,小米眼镜官方宣布其微博平台正式上线,这一消息引发了科技爱好者的广泛关注。据企查查APP最新数据显示,小米在AR眼镜领域已取得了显著的专利进展。
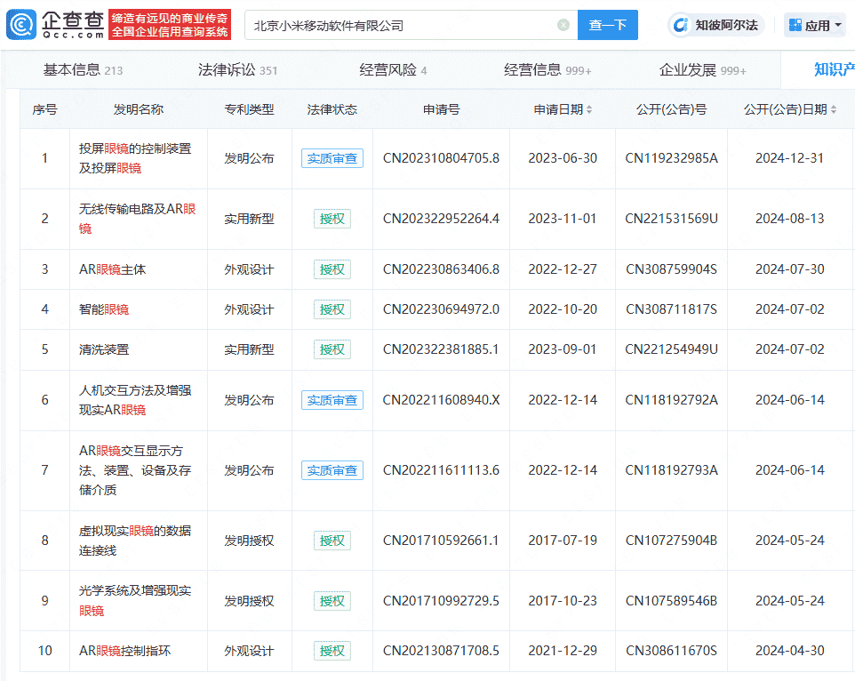
北京小米移动软件有限公司已经成功获得了多项与AR眼镜相关的专利授权,这些专利涵盖了无线传输电路、AR眼镜主体以及AR眼镜控制指环等核心技术。这些专利的取得,标志着小米在增强现实技术研发方面迈出了坚实的一步。
小米还有多项与AR眼镜相关的专利正处于实质审查阶段。这些专利包括“投屏眼镜的控制装置及投屏眼镜”以及“人机交互方法及增强现实AR眼镜”等,这些技术的研发有望进一步提升用户在使用AR眼镜时的体验和互动性。

从小米眼镜官方微博上发布的信息来看,小米对于AR眼镜的研发投入巨大,不仅致力于技术创新,还注重用户体验的提升。这些专利的取得和正在审查的专利,无疑将为小米在AR眼镜市场中的竞争提供强有力的支持。

值得注意的是,小米在AR眼镜领域的专利布局不仅限于硬件技术,还包括了软件层面的创新。例如,“人机交互方法及增强现实AR眼镜”这一专利,就涉及到了如何更加智能、便捷地与AR眼镜进行交互,这将为用户带来更加流畅的使用体验。

随着AR技术的不断发展,AR眼镜作为新一代的智能穿戴设备,其市场前景越来越广阔。小米在AR眼镜领域的专利布局和技术创新,无疑将为其在未来的市场竞争中占据有利地位。我们期待小米能够继续加大研发投入,为用户带来更多优质的AR眼镜产品。
相关阅读
-
ipadmini2现在还能用吗,苹果ipadmini2现在还能用吗
2023年ipadmini2还能用吗?根据目前的技术发展趋势来看,2023年的iPad mini 2可能已经过时,无法满足最新的软件和应用程序的要求。随着时间的推移,新的操作系统和应用程序通常需要更高的处理能力和更大的内存。因此,尽管iPa
-
华为p20pro,华为p20pro上市时间和价格
华为P20 Pro值得入手吗?你好,华为p20pro是一款非常不错的手机。如果你没有以下问题,那是真心非常建议你立即下手购买的了。1,如果你很穷,只买得起红米、小米,那么,很显然,你不值得入手华为p20rpo的了。2,如果你就是看不惯国产手
-
越南计划成为半导体领先国家,雄心壮志与挑战并存
随着全球半导体市场的不断扩大和技术的飞速发展,越南作为一个具有潜力和优势的新兴经济体,正计划成为半导体领域的领先国家,这一雄心壮志的背后,既体现了越南政府对半导体产业重要性的认识,也反映了该国在半导体领域的独特优势和发展潜力,本文将探讨越南
-
深度解析,三星I9100——一部经典的智能手机传奇
亲爱的读者,你是否曾对一款手机的历史和影响力感到好奇?我们要聊的是那个曾经风靡全球,引领智能手机潮流的明星——三星Galaxy S II,型号为I9100,这款手机就像一部活生生的历史教科书,展示了科技与设计如何完美融合,让我们一起走进它的
-
深度探索,联想A370e手机,实用与创新的完美结合
在这个科技日新月异的时代,一款优质的手机不仅是我们日常生活中的得力助手,更是我们了解科技魅力的窗口,我们将聚焦联想A370e,这款以实用性和创新性并重的智能手机,带你走进它的世界,感受其独特的魅力。联想A370e的外观设计:简约而不简单联想
-
华为P10,解锁科技生活的小秘密,让细节说话!
嗨,朋友们,你是否曾想象过手机就像一位贴心的生活助手,能读懂你的喜好,满足你的需求?我要带你们走进华为P10的世界,了解那些看似平常却至关重要的参数,它们就是手机里的魔法公式,让我们的日常生活更加智慧便捷。让我们聊聊华为P10的"心脏"——
