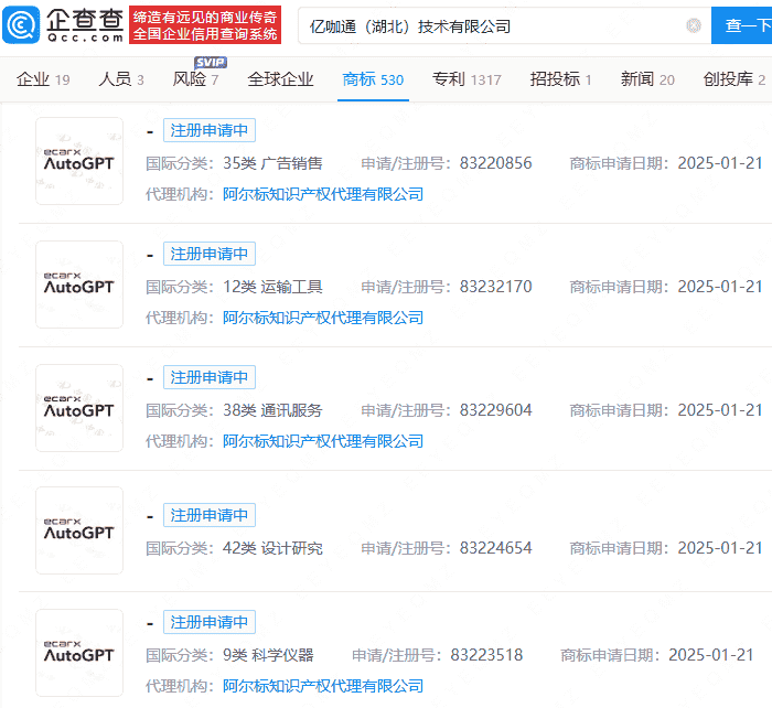
亿咖通注册多枚AutoGPT商标
企查查APP显示,近日,亿咖通(湖北)技术有限公司申请注册多枚“AutoGPT”商标,国际分类含科学仪器、通讯服务、广告销售等,当前商标状态均为注册申请中。

相关阅读
-
ipadmini2现在还能用吗,苹果ipadmini2现在还能用吗
2023年ipadmini2还能用吗?根据目前的技术发展趋势来看,2023年的iPad mini 2可能已经过时,无法满足最新的软件和应用程序的要求。随着时间的推移,新的操作系统和应用程序通常需要更高的处理能力和更大的内存。因此,尽管iPa
-
华为p20pro,华为p20pro上市时间和价格
华为P20 Pro值得入手吗?你好,华为p20pro是一款非常不错的手机。如果你没有以下问题,那是真心非常建议你立即下手购买的了。1,如果你很穷,只买得起红米、小米,那么,很显然,你不值得入手华为p20rpo的了。2,如果你就是看不惯国产手
-
越南计划成为半导体领先国家,雄心壮志与挑战并存
随着全球半导体市场的不断扩大和技术的飞速发展,越南作为一个具有潜力和优势的新兴经济体,正计划成为半导体领域的领先国家,这一雄心壮志的背后,既体现了越南政府对半导体产业重要性的认识,也反映了该国在半导体领域的独特优势和发展潜力,本文将探讨越南
-
深度解析,三星I9100——一部经典的智能手机传奇
亲爱的读者,你是否曾对一款手机的历史和影响力感到好奇?我们要聊的是那个曾经风靡全球,引领智能手机潮流的明星——三星Galaxy S II,型号为I9100,这款手机就像一部活生生的历史教科书,展示了科技与设计如何完美融合,让我们一起走进它的
-
深度探索,联想A370e手机,实用与创新的完美结合
在这个科技日新月异的时代,一款优质的手机不仅是我们日常生活中的得力助手,更是我们了解科技魅力的窗口,我们将聚焦联想A370e,这款以实用性和创新性并重的智能手机,带你走进它的世界,感受其独特的魅力。联想A370e的外观设计:简约而不简单联想
-
揭秘荣耀,从创新到引领,华为荣耀的崛起与未来趋势分析
在科技飞速发展的时代,华为荣耀作为华为集团的重要子品牌,始终以其独特的技术创新和产品魅力独树一帜,成立于2013年,荣耀凭借其对互联网思维的敏锐洞察,迅速从众多智能手机品牌中脱颖而出,成为全球年轻用户喜爱的品牌之一,我们就带你深入探究荣耀的

