娃哈哈商标大变动!从集团转至食品公司,背后有何深意?
近日,杭州娃哈哈集团有限公司的一则商标转让消息引起了广泛关注。据国家知识产权局商标局官网显示,娃哈哈集团正在对“娃哈哈”商标进行大规模转让,涉及包括医疗器械、奶瓶、理疗设备等在内的多个商品/服务项目。

此次转让的申请日期为2025年1月21日,虽然目前商标的受让主体尚未公开,但已经引发了外界的诸多猜测。娃哈哈集团不仅在此次转让中涉及了第10类商标,还对其拥有的饮料、童装、医疗器械等多类目的“娃哈哈”商标进行了转让操作。
针对这一消息,娃哈哈集团的相关人员表示,公司内部正在就此事进行沟通,具体的细节和后续进展尚未披露。然而,结合娃哈哈集团近期的人事变动和业务调整,业内已有推测认为,此次商标转让可能与宗馥莉执掌的宏胜集团有着密切关系。

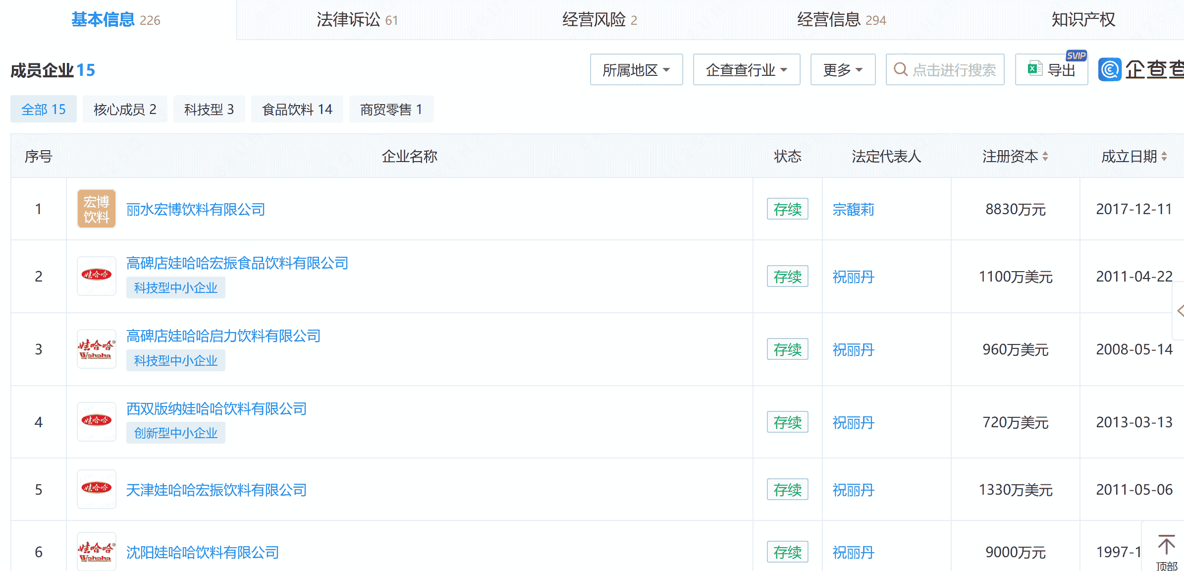
事实上,自2024年8月29日起,娃哈哈集团的法定代表人已由宗庆后变更为宗馥莉,宗馥莉同时担任了董事长兼总经理的职务。宗馥莉担任法定代表人的丽水宏博饮料有限公司近期也取得了多家娃哈哈系公司的股权。

与此同时,景宁娃哈哈饮料有限公司也发生了工商变更,宗庆后卸任了法定代表人和执行董事的职务,新增了祝丽丹为法定代表人和经理,宗馥莉则担任了执行公司事务的董事。这一系列的人事调整无疑为商标转让事件增添了更多的猜想。
为了澄清外界的疑虑,娃哈哈集团于2月12日正式发布了声明。声明中,娃哈哈集团表示,目前共有387件“娃哈哈”系列商标正在申请由国家知识产权局转让至杭州娃哈哈食品有限公司。这一转让行为旨在解决娃哈哈集团公司与外资公司之间的历史纠纷。

据声明透露,通过此次转让,娃哈哈食品公司将获得“娃哈哈”系列商标的所有权,而娃哈哈集团公司则将取得食品公司39%的股权。双方已按规定向主管机关提交了商标转让申请,此次转让并未对公司的经营和资产稳定造成不良影响。
相关阅读
-
ipadmini2现在还能用吗,苹果ipadmini2现在还能用吗
2023年ipadmini2还能用吗?根据目前的技术发展趋势来看,2023年的iPad mini 2可能已经过时,无法满足最新的软件和应用程序的要求。随着时间的推移,新的操作系统和应用程序通常需要更高的处理能力和更大的内存。因此,尽管iPa
-
华为p20pro,华为p20pro上市时间和价格
华为P20 Pro值得入手吗?你好,华为p20pro是一款非常不错的手机。如果你没有以下问题,那是真心非常建议你立即下手购买的了。1,如果你很穷,只买得起红米、小米,那么,很显然,你不值得入手华为p20rpo的了。2,如果你就是看不惯国产手
-
越南计划成为半导体领先国家,雄心壮志与挑战并存
随着全球半导体市场的不断扩大和技术的飞速发展,越南作为一个具有潜力和优势的新兴经济体,正计划成为半导体领域的领先国家,这一雄心壮志的背后,既体现了越南政府对半导体产业重要性的认识,也反映了该国在半导体领域的独特优势和发展潜力,本文将探讨越南
-
深度解析,三星I9100——一部经典的智能手机传奇
亲爱的读者,你是否曾对一款手机的历史和影响力感到好奇?我们要聊的是那个曾经风靡全球,引领智能手机潮流的明星——三星Galaxy S II,型号为I9100,这款手机就像一部活生生的历史教科书,展示了科技与设计如何完美融合,让我们一起走进它的
-
深度探索,联想A370e手机,实用与创新的完美结合
在这个科技日新月异的时代,一款优质的手机不仅是我们日常生活中的得力助手,更是我们了解科技魅力的窗口,我们将聚焦联想A370e,这款以实用性和创新性并重的智能手机,带你走进它的世界,感受其独特的魅力。联想A370e的外观设计:简约而不简单联想
-
揭秘荣耀,从创新到引领,华为荣耀的崛起与未来趋势分析
在科技飞速发展的时代,华为荣耀作为华为集团的重要子品牌,始终以其独特的技术创新和产品魅力独树一帜,成立于2013年,荣耀凭借其对互联网思维的敏锐洞察,迅速从众多智能手机品牌中脱颖而出,成为全球年轻用户喜爱的品牌之一,我们就带你深入探究荣耀的
