薇娅旗下多家企业状态变更为注销,电商版图生变?
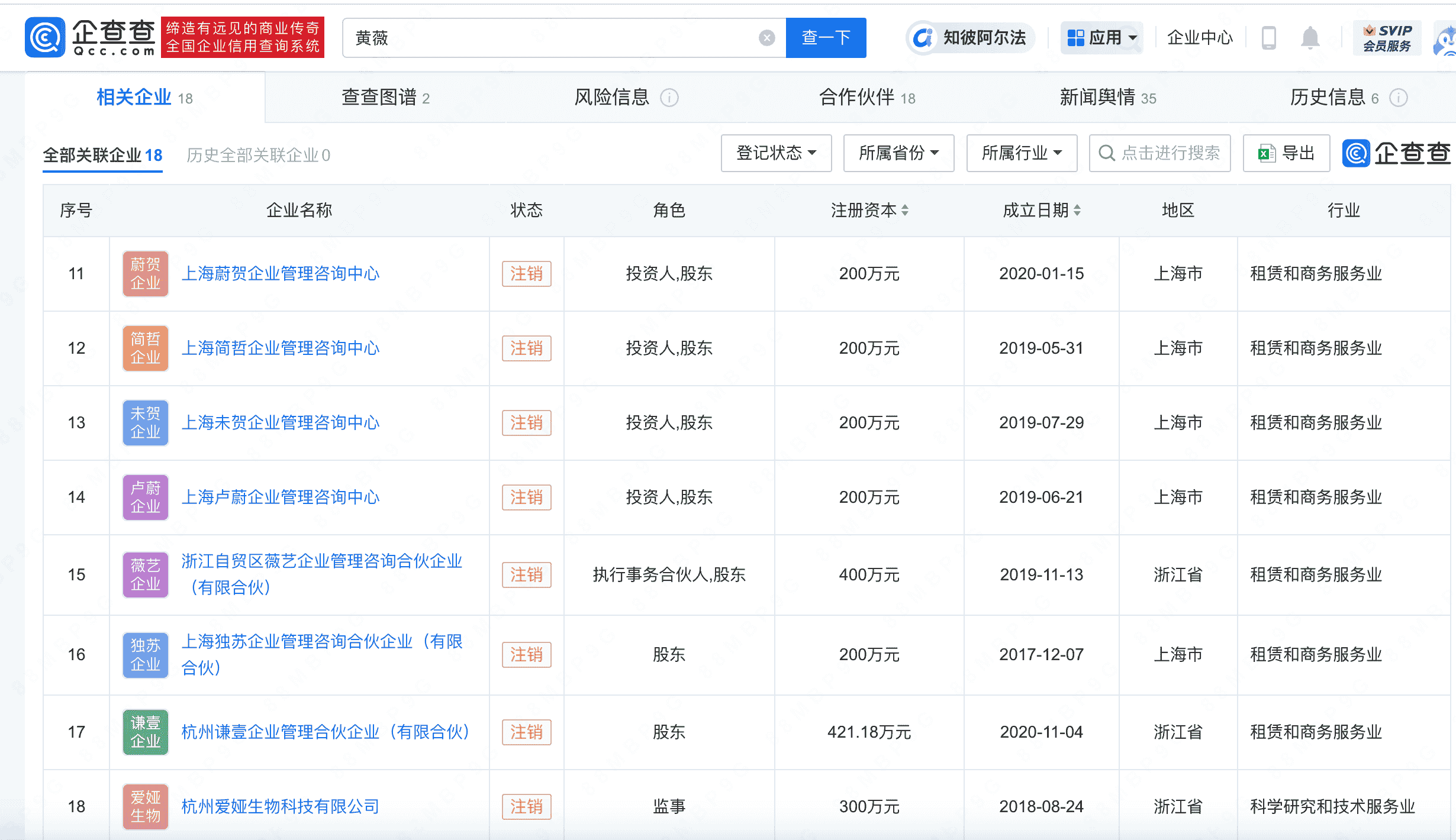
近期,企查查APP上的信息显示,知名主播薇娅(本名黄薇)所投资的多家企业发生了经营状态变更。其中,上海简哲企业管理咨询中心和上海卢蔚企业管理咨询中心等多家企业的状态由“存续”转变为“注销”。这些企业的注册资本均为200万元人民币,业务范围均归类于租赁和商务服务业。
薇娅全资拥有的云南娅致电子商务有限公司也发布了简易注销公告。公告期限从1月23日持续至2月12日,这一消息进一步引发了公众的关注。据企查查数据显示,目前薇娅共与18家公司存在关联,其中7家公司仍处于正常运营状态。

这一系列的企业状态变更,反映出薇娅在商业布局上的调整。尽管部分公司已注销,但薇娅在商业领域的足迹依然广泛,她的商业帝国仍在持续运作中。此次注销行动或许是她为了优化资源配置、精简业务版图的战略选择。

值得注意的是,尽管薇娅在商业领域有所调整,但她依然保持着与多家公司的紧密联系。这些存续的公司,或许将成为她未来商业发展的核心力量。薇娅的商业决策,无疑将继续吸引公众的密切关注。

相关阅读
-
ipadmini2现在还能用吗,苹果ipadmini2现在还能用吗
2023年ipadmini2还能用吗?根据目前的技术发展趋势来看,2023年的iPad mini 2可能已经过时,无法满足最新的软件和应用程序的要求。随着时间的推移,新的操作系统和应用程序通常需要更高的处理能力和更大的内存。因此,尽管iPa
-
华为p20pro,华为p20pro上市时间和价格
华为P20 Pro值得入手吗?你好,华为p20pro是一款非常不错的手机。如果你没有以下问题,那是真心非常建议你立即下手购买的了。1,如果你很穷,只买得起红米、小米,那么,很显然,你不值得入手华为p20rpo的了。2,如果你就是看不惯国产手
-
越南计划成为半导体领先国家,雄心壮志与挑战并存
随着全球半导体市场的不断扩大和技术的飞速发展,越南作为一个具有潜力和优势的新兴经济体,正计划成为半导体领域的领先国家,这一雄心壮志的背后,既体现了越南政府对半导体产业重要性的认识,也反映了该国在半导体领域的独特优势和发展潜力,本文将探讨越南
-
深度解析,三星I9100——一部经典的智能手机传奇
亲爱的读者,你是否曾对一款手机的历史和影响力感到好奇?我们要聊的是那个曾经风靡全球,引领智能手机潮流的明星——三星Galaxy S II,型号为I9100,这款手机就像一部活生生的历史教科书,展示了科技与设计如何完美融合,让我们一起走进它的
-
深度探索,联想A370e手机,实用与创新的完美结合
在这个科技日新月异的时代,一款优质的手机不仅是我们日常生活中的得力助手,更是我们了解科技魅力的窗口,我们将聚焦联想A370e,这款以实用性和创新性并重的智能手机,带你走进它的世界,感受其独特的魅力。联想A370e的外观设计:简约而不简单联想
-
揭秘荣耀,从创新到引领,华为荣耀的崛起与未来趋势分析
在科技飞速发展的时代,华为荣耀作为华为集团的重要子品牌,始终以其独特的技术创新和产品魅力独树一帜,成立于2013年,荣耀凭借其对互联网思维的敏锐洞察,迅速从众多智能手机品牌中脱颖而出,成为全球年轻用户喜爱的品牌之一,我们就带你深入探究荣耀的

