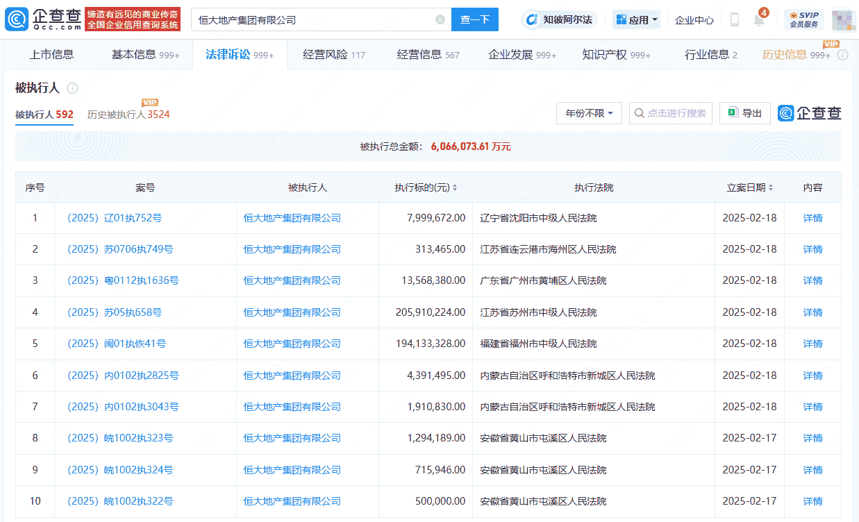
恒大地产再被执行4.28亿,被执行总金额超600亿
企查查APP显示,2月18日,恒大地产集团有限公司新增7条被执行人信息,执行标的合计约4.28亿元,涉及票据纠纷、金融借款合同纠纷等案件,部分案件被执行人还包括重庆恒永房地产开发有限公司等,执行法院为福建省福州市中级人民法院、广东省广州市黄埔区人民法院等。目前,恒大地产集团有限公司被执行总金额超600亿元人民币。

相关阅读
-
ipadmini2现在还能用吗,苹果ipadmini2现在还能用吗
2023年ipadmini2还能用吗?根据目前的技术发展趋势来看,2023年的iPad mini 2可能已经过时,无法满足最新的软件和应用程序的要求。随着时间的推移,新的操作系统和应用程序通常需要更高的处理能力和更大的内存。因此,尽管iPa
-
华为p20pro,华为p20pro上市时间和价格
华为P20 Pro值得入手吗?你好,华为p20pro是一款非常不错的手机。如果你没有以下问题,那是真心非常建议你立即下手购买的了。1,如果你很穷,只买得起红米、小米,那么,很显然,你不值得入手华为p20rpo的了。2,如果你就是看不惯国产手
-
越南计划成为半导体领先国家,雄心壮志与挑战并存
随着全球半导体市场的不断扩大和技术的飞速发展,越南作为一个具有潜力和优势的新兴经济体,正计划成为半导体领域的领先国家,这一雄心壮志的背后,既体现了越南政府对半导体产业重要性的认识,也反映了该国在半导体领域的独特优势和发展潜力,本文将探讨越南
-
深度解析,三星I9100——一部经典的智能手机传奇
亲爱的读者,你是否曾对一款手机的历史和影响力感到好奇?我们要聊的是那个曾经风靡全球,引领智能手机潮流的明星——三星Galaxy S II,型号为I9100,这款手机就像一部活生生的历史教科书,展示了科技与设计如何完美融合,让我们一起走进它的
-
深度探索,联想A370e手机,实用与创新的完美结合
在这个科技日新月异的时代,一款优质的手机不仅是我们日常生活中的得力助手,更是我们了解科技魅力的窗口,我们将聚焦联想A370e,这款以实用性和创新性并重的智能手机,带你走进它的世界,感受其独特的魅力。联想A370e的外观设计:简约而不简单联想
-
风车动漫网,探索动画世界的瑰宝与创新引擎
在信息爆炸的现代社会,我们有幸拥有一种名为“动漫”的艺术形式,它以独特的视觉语言和丰富的情感内涵,引领我们走进一个充满想象力的奇幻世界,我要向大家介绍的就是这样一个充满活力与创新精神的平台——风车动漫网。风车动漫网,这个名字本身就蕴含着对传

