司马南商业帝国揭秘:影视策划中心注册资本仅十万元?
近期,国家税务总局北京市税务局稽查局公布了一项针对知名人士司马南的税务违规案件处理结果。调查结果显示,在2019年到2023年期间,司马南涉嫌通过一系列不正当手段,包括隐匿个人收入及虚假税务申报,导致个人所得税、增值税等税款总计少缴462.43万元。同时,其实际控制的企业——位于北京的某影视策划中心,也因虚报成本、违规享受小微企业税收优惠,少缴企业所得税75.32万元。
针对上述违法行为,国家税务总局北京市税务局稽查局不仅对司马南及其企业进行了严肃的追缴税款处理,还额外加收了滞纳金,并处以罚款,总计金额高达926.94万元。这一举措体现了税务部门对税收违法行为的严厉打击态度。
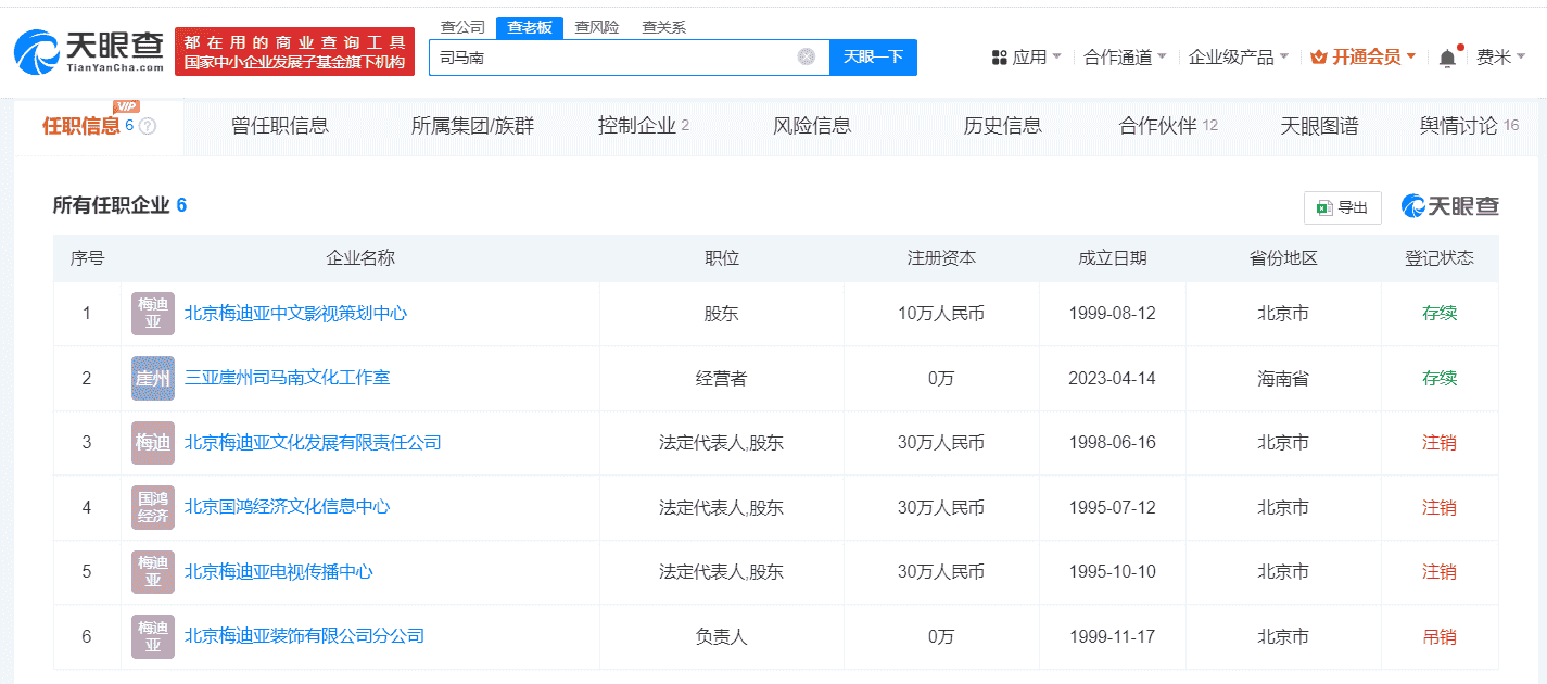
据天眼查信息显示,司马南名下曾关联多家企业,但多数已注销或吊销。目前仍在运营的企业仅剩两家,分别是北京梅迪亚中文影视策划中心和三亚崖州司马南文化工作室。这两家企业的存续状态,无疑成为了公众关注的焦点。
北京梅迪亚中文影视策划中心成立于1999年8月,注册资本为10万元人民币,业务范围涵盖影视策划、企业形象策划及展览展示服务等多个领域。该企业的法定代表人为于宁,股东包括司马南、于宁及于慧,其中司马南持股比例为50%。值得注意的是,根据参保人员信息,该公司在2023年的参保人数仅为1人。

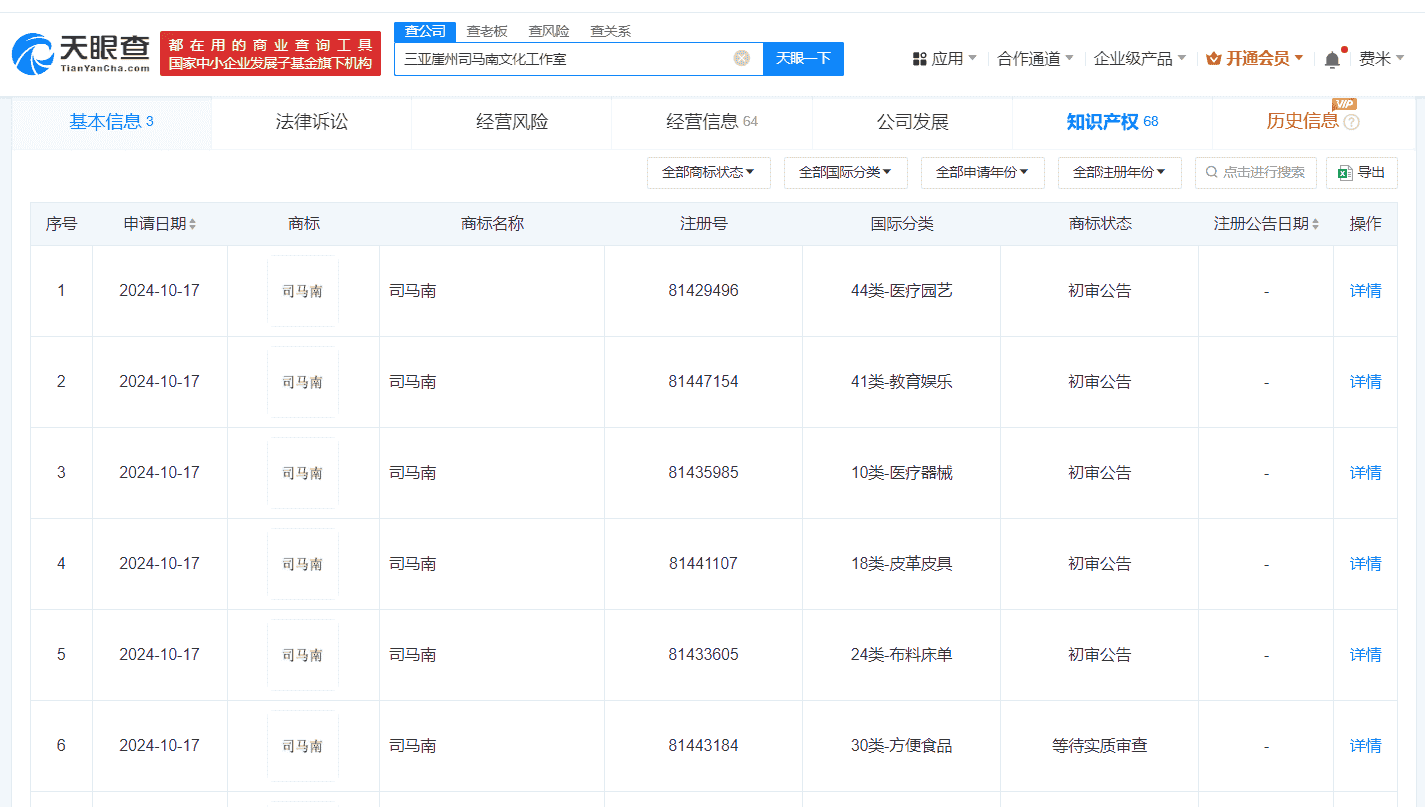
另一家存续的企业,三亚崖州司马南文化工作室,成立于2023年4月,是一家个体工商户。该企业由司马南直接经营,业务范围包括演出经纪、企业形象策划及市场营销策划等。据天眼查商标信息显示,该工作室已申请多枚“司马南”商标,涵盖教育娱乐、广告销售及社会服务等多个领域,部分商标已进入初审公告阶段。

司马南的税务违规案件,再次引发了社会对公众人物税务合规性的广泛关注。税务部门强调,无论身份如何,所有纳税人都应严格遵守税法规定,如实申报纳税,共同营造公平、公正的税收环境。

税务部门还提醒广大纳税人,应加强对自身税务事务的管理,避免不必要的税务风险。对于发现的税务违规行为,税务部门将依法严肃查处,绝不姑息。


相关阅读
-
ipadmini2现在还能用吗,苹果ipadmini2现在还能用吗
2023年ipadmini2还能用吗?根据目前的技术发展趋势来看,2023年的iPad mini 2可能已经过时,无法满足最新的软件和应用程序的要求。随着时间的推移,新的操作系统和应用程序通常需要更高的处理能力和更大的内存。因此,尽管iPa
-
华为p20pro,华为p20pro上市时间和价格
华为P20 Pro值得入手吗?你好,华为p20pro是一款非常不错的手机。如果你没有以下问题,那是真心非常建议你立即下手购买的了。1,如果你很穷,只买得起红米、小米,那么,很显然,你不值得入手华为p20rpo的了。2,如果你就是看不惯国产手
-
越南计划成为半导体领先国家,雄心壮志与挑战并存
随着全球半导体市场的不断扩大和技术的飞速发展,越南作为一个具有潜力和优势的新兴经济体,正计划成为半导体领域的领先国家,这一雄心壮志的背后,既体现了越南政府对半导体产业重要性的认识,也反映了该国在半导体领域的独特优势和发展潜力,本文将探讨越南
-
深度解析,三星I9100——一部经典的智能手机传奇
亲爱的读者,你是否曾对一款手机的历史和影响力感到好奇?我们要聊的是那个曾经风靡全球,引领智能手机潮流的明星——三星Galaxy S II,型号为I9100,这款手机就像一部活生生的历史教科书,展示了科技与设计如何完美融合,让我们一起走进它的
-
深度探索,联想A370e手机,实用与创新的完美结合
在这个科技日新月异的时代,一款优质的手机不仅是我们日常生活中的得力助手,更是我们了解科技魅力的窗口,我们将聚焦联想A370e,这款以实用性和创新性并重的智能手机,带你走进它的世界,感受其独特的魅力。联想A370e的外观设计:简约而不简单联想
-
风车动漫网,探索动画世界的瑰宝与创新引擎
在信息爆炸的现代社会,我们有幸拥有一种名为“动漫”的艺术形式,它以独特的视觉语言和丰富的情感内涵,引领我们走进一个充满想象力的奇幻世界,我要向大家介绍的就是这样一个充满活力与创新精神的平台——风车动漫网。风车动漫网,这个名字本身就蕴含着对传

