小鹿妈妈公司年报揭秘:参保人数仅1人,创始人商业版图下多家公司无人参保?
近日,有关小鹿妈妈公司内部管理严苛的消息在网络上引发了广泛讨论,具体包括“取消固定午休时段”、“禁止员工在工位摆放个人物品”以及“要求员工必须在工位用餐”等规定。针对这一事件,合肥市庐阳区劳动保障监察大队已证实,已于3月26日对小鹿妈妈进行了实地调查。
据天眼查信息显示,小鹿妈妈相关联的公司——安徽鹿妈妈生物科技有限公司,成立于2016年5月,法人代表为岳梦影,注册资本为500万元人民币。该公司的经营范围涵盖了生物科技产品的研发、生产和销售等多个领域,股权结构由夏泉和芦士琴分别持有90%和10%。值得注意的是,2023年的年报数据显示,该公司的参保人数仅为1人,这一数据引发了外界对其员工保障情况的关注。
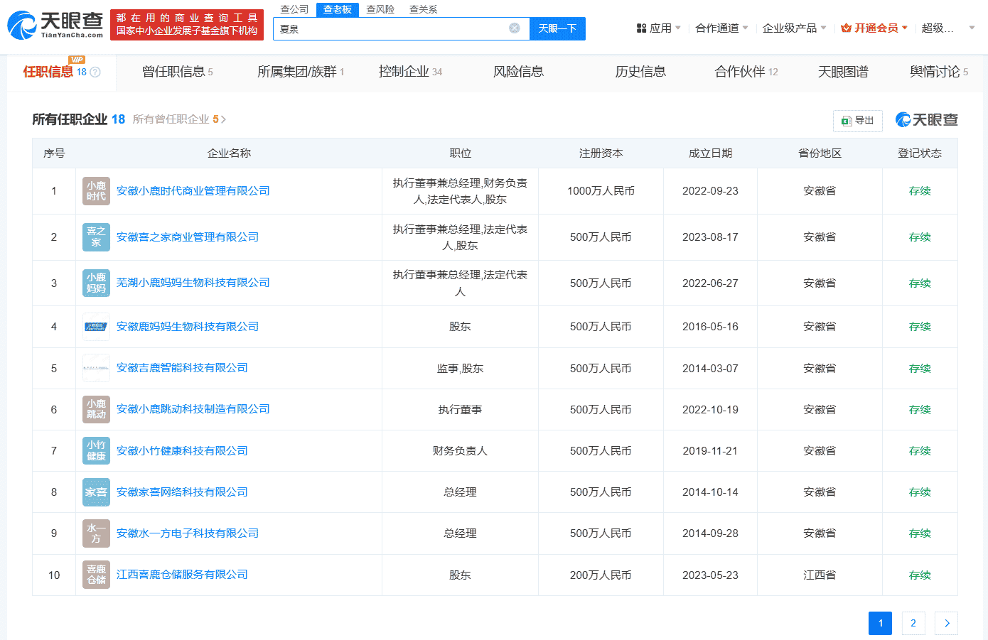
深入探究小鹿妈妈背后的商业版图,我们发现其创始人夏泉名下关联有多达18家企业。其中,14家企业目前仍处于存续状态,包括安徽小鹿时代商业管理有限公司、安徽喜之家商业管理有限公司以及芜湖小鹿妈妈生物科技有限公司等。夏泉在这些企业中担任股东、法定代表人、执行董事和总经理等职务,显示其在商业领域的广泛布局和深厚实力。然而,值得注意的是,夏泉名下的安徽小鹿时代商业管理有限公司、安徽吉鹿智能科技有限公司以及芜湖市鹿龙生物科技有限公司等多家企业在2023年的年报中显示参保人数为0,这进一步加剧了外界对其企业运营和员工保障状况的疑虑。

随着事件的发酵,更多关于小鹿妈妈公司的细节被逐步披露。有报道称,该公司内部的管理规定不仅严苛,而且缺乏人性化关怀,导致员工的工作压力和生活质量受到严重影响。这一消息引发了社会各界的广泛关注和讨论,人们纷纷呼吁企业应更加注重员工的权益和福祉,营造更加和谐、健康的工作环境。

针对这一系列问题,合肥市庐阳区劳动保障监察大队已经介入调查,并将根据调查结果采取相应的措施来保障员工的合法权益。同时,社会各界也在密切关注着这一事件的进展,期待能够看到一个公正、合理的处理结果。

在此背景下,小鹿妈妈公司也面临着前所未有的舆论压力。如何有效应对这一危机,恢复企业的公信力和品牌形象,将是小鹿妈妈公司接下来需要重点考虑的问题。同时,这一事件也为广大企业提供了一个深刻的教训:在追求经济效益的同时,必须更加注重员工的权益和福祉,才能实现企业的可持续发展。

最后,我们期待小鹿妈妈公司能够正视问题,积极整改,为员工创造一个更加公平、合理、人性化的工作环境。同时,我们也呼吁社会各界继续关注这一事件的进展,共同推动企业的健康发展和社会和谐进步。

相关阅读
-
ipadmini2现在还能用吗,苹果ipadmini2现在还能用吗
2023年ipadmini2还能用吗?根据目前的技术发展趋势来看,2023年的iPad mini 2可能已经过时,无法满足最新的软件和应用程序的要求。随着时间的推移,新的操作系统和应用程序通常需要更高的处理能力和更大的内存。因此,尽管iPa
-
越南计划成为半导体领先国家,雄心壮志与挑战并存
随着全球半导体市场的不断扩大和技术的飞速发展,越南作为一个具有潜力和优势的新兴经济体,正计划成为半导体领域的领先国家,这一雄心壮志的背后,既体现了越南政府对半导体产业重要性的认识,也反映了该国在半导体领域的独特优势和发展潜力,本文将探讨越南
-
华为p20pro,华为p20pro上市时间和价格
华为P20 Pro值得入手吗?你好,华为p20pro是一款非常不错的手机。如果你没有以下问题,那是真心非常建议你立即下手购买的了。1,如果你很穷,只买得起红米、小米,那么,很显然,你不值得入手华为p20rpo的了。2,如果你就是看不惯国产手
-
深度解析,三星I9100——一部经典的智能手机传奇
亲爱的读者,你是否曾对一款手机的历史和影响力感到好奇?我们要聊的是那个曾经风靡全球,引领智能手机潮流的明星——三星Galaxy S II,型号为I9100,这款手机就像一部活生生的历史教科书,展示了科技与设计如何完美融合,让我们一起走进它的
-
深度探索,联想A370e手机,实用与创新的完美结合
在这个科技日新月异的时代,一款优质的手机不仅是我们日常生活中的得力助手,更是我们了解科技魅力的窗口,我们将聚焦联想A370e,这款以实用性和创新性并重的智能手机,带你走进它的世界,感受其独特的魅力。联想A370e的外观设计:简约而不简单联想
-
揭秘荣耀,从创新到引领,华为荣耀的崛起与未来趋势分析
在科技飞速发展的时代,华为荣耀作为华为集团的重要子品牌,始终以其独特的技术创新和产品魅力独树一帜,成立于2013年,荣耀凭借其对互联网思维的敏锐洞察,迅速从众多智能手机品牌中脱颖而出,成为全球年轻用户喜爱的品牌之一,我们就带你深入探究荣耀的

