《哪吒之魔童闹海》票房7天破56亿,超映前预测,片方商标布局全面
在电影市场掀起的一股强劲风暴中,《哪吒之魔童闹海》以其惊人的票房成绩再次证明了国产动画的无限潜力。据最新数据披露,该片在短短7天18小时之内,票房已火速攀升至56亿元大关。这一成绩不仅远超上映前众多媒体预测的38亿至50亿区间,更激发了市场对影片后续表现的无限遐想。
随着影片口碑与热度的持续发酵,AI预测系统也对其总票房给出了更为乐观的预估。截至2月6日,该系统已将《哪吒之魔童闹海》的总票房预测上调至95.37亿元,连续第八日呈现上涨态势。这一数字无疑为影片的制片方及投资者注入了强大的信心。
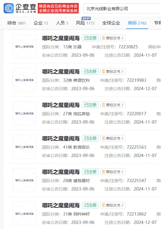
在商业层面取得巨大成功的同时,《哪吒之魔童闹海》在知识产权布局上也展现出了前瞻性的眼光。企查查APP的数据显示,该影片的出品方之一——北京光线影业有限公司,已成功注册了多枚与影片名称相关的商标,涵盖了乐器、啤酒饮料、教育娱乐等多个领域。这一举措不仅有效保护了影片的品牌形象,更为其未来的多元化发展奠定了坚实的基础。

作为国产动画电影的新标杆,《哪吒之魔童闹海》不仅以其精湛的动画制作、扣人心弦的故事情节赢得了观众的广泛赞誉,更以其卓越的商业表现和市场影响力,为中国动画电影产业的发展注入了新的活力。随着影片票房的持续走高,我们有理由相信,《哪吒之魔童闹海》将成为中国电影史上的一座重要里程碑。
相关阅读
-
ipadmini2现在还能用吗,苹果ipadmini2现在还能用吗
2023年ipadmini2还能用吗?根据目前的技术发展趋势来看,2023年的iPad mini 2可能已经过时,无法满足最新的软件和应用程序的要求。随着时间的推移,新的操作系统和应用程序通常需要更高的处理能力和更大的内存。因此,尽管iPa
-
华为p20pro,华为p20pro上市时间和价格
华为P20 Pro值得入手吗?你好,华为p20pro是一款非常不错的手机。如果你没有以下问题,那是真心非常建议你立即下手购买的了。1,如果你很穷,只买得起红米、小米,那么,很显然,你不值得入手华为p20rpo的了。2,如果你就是看不惯国产手
-
越南计划成为半导体领先国家,雄心壮志与挑战并存
随着全球半导体市场的不断扩大和技术的飞速发展,越南作为一个具有潜力和优势的新兴经济体,正计划成为半导体领域的领先国家,这一雄心壮志的背后,既体现了越南政府对半导体产业重要性的认识,也反映了该国在半导体领域的独特优势和发展潜力,本文将探讨越南
-
深度解析,三星I9100——一部经典的智能手机传奇
亲爱的读者,你是否曾对一款手机的历史和影响力感到好奇?我们要聊的是那个曾经风靡全球,引领智能手机潮流的明星——三星Galaxy S II,型号为I9100,这款手机就像一部活生生的历史教科书,展示了科技与设计如何完美融合,让我们一起走进它的
-
深度探索,联想A370e手机,实用与创新的完美结合
在这个科技日新月异的时代,一款优质的手机不仅是我们日常生活中的得力助手,更是我们了解科技魅力的窗口,我们将聚焦联想A370e,这款以实用性和创新性并重的智能手机,带你走进它的世界,感受其独特的魅力。联想A370e的外观设计:简约而不简单联想
-
华为P10,解锁科技生活的小秘密,让细节说话!
嗨,朋友们,你是否曾想象过手机就像一位贴心的生活助手,能读懂你的喜好,满足你的需求?我要带你们走进华为P10的世界,了解那些看似平常却至关重要的参数,它们就是手机里的魔法公式,让我们的日常生活更加智慧便捷。让我们聊聊华为P10的"心脏"——

