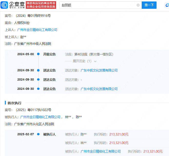
金日精细化工等多方侵权赵丽颖,法院判决强制执行赔偿超21万
近期,企查查APP上公布了一则新的法律执行信息,涉及广州市金日精细化工有限公司、陈某以及林某。据显示,这三位被执行人因涉及一项案件被广州市从化区人民法院判定执行标的超过21万元。
案件背景追溯至先前一起人格权纠纷案,该案中广州市金日精细化工有限公司作为上诉人,与被上诉人赵丽颖等产生了法律争议。经过法院审理,最终判决结果得以公告送达,涉及多方赔偿责任。具体而言,林某被判赔偿赵丽颖经济损失20万元,而广州市金日精细化工有限公司则需在此中的10万元范围内承担连带清偿责任。陈某也被要求在2万元的范围内承担连带责任。
除了经济损失赔偿外,林某和陈某还需连带赔偿赵丽颖合理费用1.3万余元。在这一部分赔偿中,广州市金日精细化工有限公司同样需承担部分连带责任,具体金额为6660元。这一系列判决不仅明确了各责任方的具体赔偿金额,也彰显了法律对于人格权保护的严肃态度。

此次案件的执行信息公示,标志着法律程序进入了新的阶段,对于维护个人权益、促进企业合法经营具有警示意义。社会各界也将持续关注此类案件的执行进展,期待法律能够公正、有效地保障每个人的合法权益。
相关阅读
-
ipadmini2现在还能用吗,苹果ipadmini2现在还能用吗
2023年ipadmini2还能用吗?根据目前的技术发展趋势来看,2023年的iPad mini 2可能已经过时,无法满足最新的软件和应用程序的要求。随着时间的推移,新的操作系统和应用程序通常需要更高的处理能力和更大的内存。因此,尽管iPa
-
华为p20pro,华为p20pro上市时间和价格
华为P20 Pro值得入手吗?你好,华为p20pro是一款非常不错的手机。如果你没有以下问题,那是真心非常建议你立即下手购买的了。1,如果你很穷,只买得起红米、小米,那么,很显然,你不值得入手华为p20rpo的了。2,如果你就是看不惯国产手
-
越南计划成为半导体领先国家,雄心壮志与挑战并存
随着全球半导体市场的不断扩大和技术的飞速发展,越南作为一个具有潜力和优势的新兴经济体,正计划成为半导体领域的领先国家,这一雄心壮志的背后,既体现了越南政府对半导体产业重要性的认识,也反映了该国在半导体领域的独特优势和发展潜力,本文将探讨越南
-
深度解析,三星I9100——一部经典的智能手机传奇
亲爱的读者,你是否曾对一款手机的历史和影响力感到好奇?我们要聊的是那个曾经风靡全球,引领智能手机潮流的明星——三星Galaxy S II,型号为I9100,这款手机就像一部活生生的历史教科书,展示了科技与设计如何完美融合,让我们一起走进它的
-
深度探索,联想A370e手机,实用与创新的完美结合
在这个科技日新月异的时代,一款优质的手机不仅是我们日常生活中的得力助手,更是我们了解科技魅力的窗口,我们将聚焦联想A370e,这款以实用性和创新性并重的智能手机,带你走进它的世界,感受其独特的魅力。联想A370e的外观设计:简约而不简单联想
-
华为P10,解锁科技生活的小秘密,让细节说话!
嗨,朋友们,你是否曾想象过手机就像一位贴心的生活助手,能读懂你的喜好,满足你的需求?我要带你们走进华为P10的世界,了解那些看似平常却至关重要的参数,它们就是手机里的魔法公式,让我们的日常生活更加智慧便捷。让我们聊聊华为P10的"心脏"——

