潘宏复出后财富揭秘:橱窗月销3000万,广告报价超25万,真这么赚钱?
近期,网红潘宏的宠物用品公司注销事件引发了广泛关注。尽管他在带货方面遭遇了一定的挑战,但其橱窗内的宠物用品却表现出色,广告报价也相当可观。
潘宏是一位拥有超过1600万粉丝的抖音网红,以训狗和视频内容著称。然而,就在不久前,他因一起涉及网红阿拉斯加犬“艾特”的死亡事件而陷入舆论风波。据悉,1月19日,潘宏带着艾特前往宠物店洗澡,并进行了全程。在中,为了防止狗咬人,潘宏用扎带绑住了艾特的嘴巴。然而,艾特在洗澡过程中一直挣扎喘气,嘴角流血,并最终晕倒,导致中断。
当天晚上,潘宏发布消息称艾特因年纪大、洗澡时心脏受不了而死亡。这一消息迅速在网络上发酵,引发了众多网友的质疑和愤怒。部分网友认为,潘宏为了博取热度,强行给狗洗澡,且手法粗暴,才导致了艾特的死亡。面对网友的指责,潘宏迅速否认蹭流量,并表示全程没有打PK、没有要礼物、也没有卖货。
然而,网友并未就此罢休,纷纷扒出潘宏狗舍环境脏乱差的情况,以及他过往训狗的粗暴手法。甚至有网友翻出了潘宏的犯罪史,因斗殴被判有期徒刑一年缓刑一年,进一步佐证他是故意“谋杀”狗。尽管潘宏对此进行了澄清和反驳,但舆论风波并未平息。
尽管遭遇了舆论风波,但潘宏的带货能力依然不容小觑。据巨量星图显示,账号“潘宏爱玩狗”的粉丝已经超过1600万,是动物类赛道的头部账号。其星图商业能力指数高达89.1%,广告报价在25-50万元之间。这意味着,只要一个月接三条广告,潘宏就能入账上百万元。
然而,带货方面,潘宏的表现却相对一般。据新抖数据显示,自9月16日开启首场带货以来,潘宏的销售额一直不高。尽管他陆续进行了多场带货,但销售额始终未能实现突破。尽管如此,其关联店铺“天祺宠物”的销售额却十分可观。近30天内,该店铺的销售额已超过3000万元。
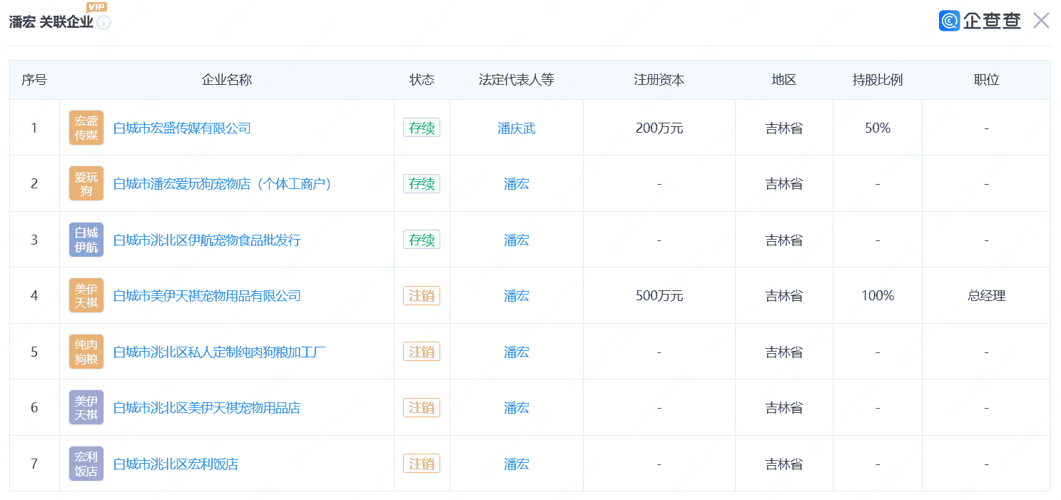
值得注意的是,潘宏名下关联了多家公司。其中,白城市美伊天祺宠物用品有限公司和白城市潘宏爱玩狗宠物店仍处于存续状态。然而,其曾于2017年3月成立的白城市洮北区宏利饭店已于2024年12月注销。潘宏还拥有一家名为“白城市宏盛”的传媒公司,注册资本为200万人民币,经营范围包括个人互联网服务、文化娱乐经纪人服务等。
然而,令人意外的是,潘宏名下的另一家关联公司——白城市天祺宠物用品有限公司已于2月5日注销。据悉,该公司曾因经营超过保质期的饲料被白城市洮北区农业农村局行政处罚2000元。这一消息无疑给潘宏的宠物用品业务蒙上了一层阴影。
尽管面临诸多挑战和争议,但潘宏依然坚持在抖音平台上发布训狗视频和。他表示,自己将继续努力,为粉丝带来更多优质的内容。同时,他也表示将积极应对舆论风波,澄清误解和谣言。未来,潘宏能否在带货和宠物用品业务上实现突破,仍需拭目以待。
相关阅读
-
ipadmini2现在还能用吗,苹果ipadmini2现在还能用吗
2023年ipadmini2还能用吗?根据目前的技术发展趋势来看,2023年的iPad mini 2可能已经过时,无法满足最新的软件和应用程序的要求。随着时间的推移,新的操作系统和应用程序通常需要更高的处理能力和更大的内存。因此,尽管iPa
-
华为p20pro,华为p20pro上市时间和价格
华为P20 Pro值得入手吗?你好,华为p20pro是一款非常不错的手机。如果你没有以下问题,那是真心非常建议你立即下手购买的了。1,如果你很穷,只买得起红米、小米,那么,很显然,你不值得入手华为p20rpo的了。2,如果你就是看不惯国产手
-
越南计划成为半导体领先国家,雄心壮志与挑战并存
随着全球半导体市场的不断扩大和技术的飞速发展,越南作为一个具有潜力和优势的新兴经济体,正计划成为半导体领域的领先国家,这一雄心壮志的背后,既体现了越南政府对半导体产业重要性的认识,也反映了该国在半导体领域的独特优势和发展潜力,本文将探讨越南
-
深度解析,三星I9100——一部经典的智能手机传奇
亲爱的读者,你是否曾对一款手机的历史和影响力感到好奇?我们要聊的是那个曾经风靡全球,引领智能手机潮流的明星——三星Galaxy S II,型号为I9100,这款手机就像一部活生生的历史教科书,展示了科技与设计如何完美融合,让我们一起走进它的
-
深度探索,联想A370e手机,实用与创新的完美结合
在这个科技日新月异的时代,一款优质的手机不仅是我们日常生活中的得力助手,更是我们了解科技魅力的窗口,我们将聚焦联想A370e,这款以实用性和创新性并重的智能手机,带你走进它的世界,感受其独特的魅力。联想A370e的外观设计:简约而不简单联想
-
揭秘荣耀,从创新到引领,华为荣耀的崛起与未来趋势分析
在科技飞速发展的时代,华为荣耀作为华为集团的重要子品牌,始终以其独特的技术创新和产品魅力独树一帜,成立于2013年,荣耀凭借其对互联网思维的敏锐洞察,迅速从众多智能手机品牌中脱颖而出,成为全球年轻用户喜爱的品牌之一,我们就带你深入探究荣耀的

