美联股份赴港上市路:营收下滑,外籍兄妹掌舵引关注
美联钢结构建筑系统(上海)股份有限公司,业界简称“美联股份”,近期正式向港交所递交了上市申请,标志着这家深耕预制金属建筑解决方案的企业即将迈入资本市场的新篇章。
美联股份自1999年成立以来,便专注于为各类建筑项目提供高质量的预制金属建筑产品及安全、高效的一体化解决方案。其业务范围广泛,涵盖了预制金属建筑解决方案、专业工程总包以及工业环保装备三大核心板块。
财务数据显示,美联股份在2022年全年实现了19亿元的营业收入,而到了2023年,这一数字调整为14.5亿元。与此同时,公司的毛利与运营利润也相应地从2022年的2.4亿元和1.19亿元,下滑至2023年的2.15亿元和9270万元。进入2024年,前九个月的营收为8.85亿元,与去年同期的11.55亿元相比,下降了23%;运营利润和期内利润也分别减少了13.8%和10.8%,达到6581万元和4661万元。

资金状况方面,截至2024年9月30日,美联股份持有的现金及现金等价物约为1.12亿元。值得注意的是,在业绩期内,公司分别向股东宣派了2022年度和2023年度的股利,金额分别为2040万元和1920万元,而2024年前九个月则未进行股利宣派。
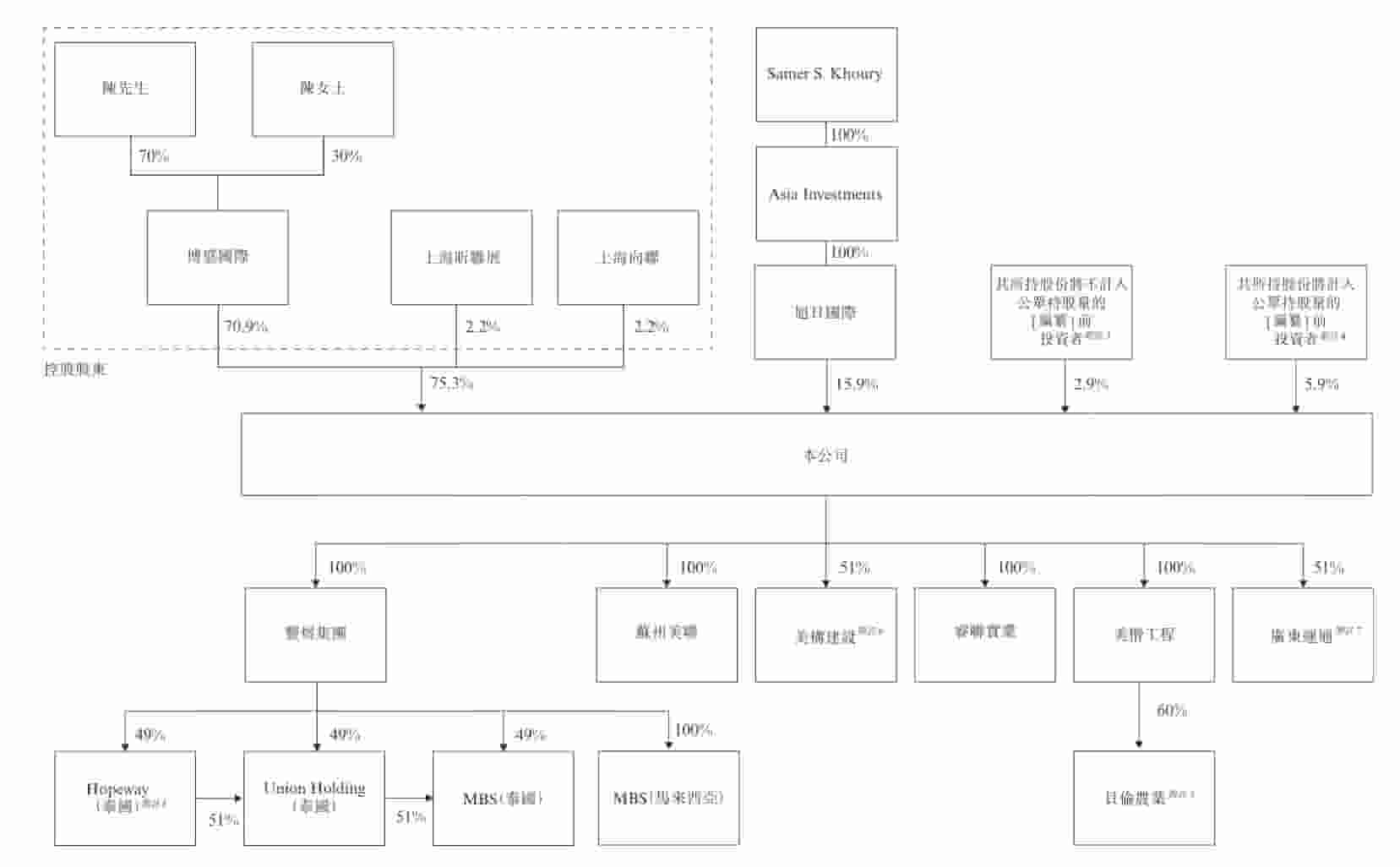
美联股份的领导层由执行董事陈博彦和陈嘉琪女士领衔,他们分别担任公司的董事长和董事职务。非执行董事包括马江和Wajdi Maalouf,而独立非执行董事则由何志聪、刘绪明和庄瀚宏组成。陈博彦为加拿大籍,陈嘉琪女士和马江拥有美国国籍,而Wajdi Maalouf则是黎巴嫩国籍。陈博彦和陈嘉琪不仅是兄妹关系,还共同持有公司的主要控股公司博盛国际的70%和30%股权,后者间接持有美联股份约70.9%的权益。

在股权结构上,除了博盛国际外,美联股份的股份还由两个员工持股平台——上海向联和上海昕联展分别持有约2.2%的权益。这两个平台均由陈嘉琪女士作为执行事务合伙人进行管理。截至最后实际可行日期,博盛国际、上海向联和上海昕联展合计持有美联股份已发行股本的约75.3%。Samer S. Khoury通过旭日国际持有公司15.9%的股份。

相关阅读
-
ipadmini2现在还能用吗,苹果ipadmini2现在还能用吗
2023年ipadmini2还能用吗?根据目前的技术发展趋势来看,2023年的iPad mini 2可能已经过时,无法满足最新的软件和应用程序的要求。随着时间的推移,新的操作系统和应用程序通常需要更高的处理能力和更大的内存。因此,尽管iPa
-
华为p20pro,华为p20pro上市时间和价格
华为P20 Pro值得入手吗?你好,华为p20pro是一款非常不错的手机。如果你没有以下问题,那是真心非常建议你立即下手购买的了。1,如果你很穷,只买得起红米、小米,那么,很显然,你不值得入手华为p20rpo的了。2,如果你就是看不惯国产手
-
越南计划成为半导体领先国家,雄心壮志与挑战并存
随着全球半导体市场的不断扩大和技术的飞速发展,越南作为一个具有潜力和优势的新兴经济体,正计划成为半导体领域的领先国家,这一雄心壮志的背后,既体现了越南政府对半导体产业重要性的认识,也反映了该国在半导体领域的独特优势和发展潜力,本文将探讨越南
-
深度解析,三星I9100——一部经典的智能手机传奇
亲爱的读者,你是否曾对一款手机的历史和影响力感到好奇?我们要聊的是那个曾经风靡全球,引领智能手机潮流的明星——三星Galaxy S II,型号为I9100,这款手机就像一部活生生的历史教科书,展示了科技与设计如何完美融合,让我们一起走进它的
-
深度探索,联想A370e手机,实用与创新的完美结合
在这个科技日新月异的时代,一款优质的手机不仅是我们日常生活中的得力助手,更是我们了解科技魅力的窗口,我们将聚焦联想A370e,这款以实用性和创新性并重的智能手机,带你走进它的世界,感受其独特的魅力。联想A370e的外观设计:简约而不简单联想
-
风车动漫网,探索动画世界的瑰宝与创新引擎
在信息爆炸的现代社会,我们有幸拥有一种名为“动漫”的艺术形式,它以独特的视觉语言和丰富的情感内涵,引领我们走进一个充满想象力的奇幻世界,我要向大家介绍的就是这样一个充满活力与创新精神的平台——风车动漫网。风车动漫网,这个名字本身就蕴含着对传

