美团布局新业务?接连申请“美团财宝”与“美团菜包”商标
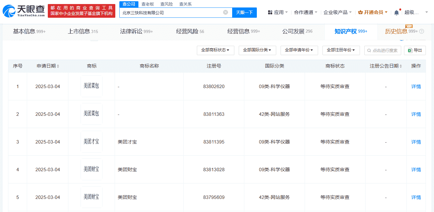
近期,美团旗下的北京三快科技有限公司在知识产权领域有了新动作。据天眼查信息显示,该公司已正式提交了一系列商标注册申请,这些商标名称别具一格,包括“美团财宝”、“美团才宝”以及“美团菜包”。
此次申请的商标国际分类广泛,涵盖了科学仪器和网站服务等多个领域,显示出美团在业务拓展上的多元化战略。目前,这些商标的状态均为等待实质审查阶段,预示着美团或许即将在这些新领域展开一系列动作。

从商标名称来看,“美团财宝”或许与美团在金融或财富管理服务方面的探索有关,而“美团才宝”则可能指向人才管理或职业发展相关的服务。至于“美团菜包”,考虑到美团在餐饮外卖领域的深厚积累,这一商标可能与食材供应、餐饮包装或相关增值服务紧密相连。
美团作为国内领先的互联网生活服务平台,一直以来都在不断创新和拓展业务领域。此次商标注册的举动,无疑再次彰显了美团在多元化发展道路上的坚定步伐。

随着商标审查进程的推进,我们有理由期待美团将在这些新领域带来更多创新和惊喜。无论是金融理财、人才服务还是餐饮供应链,美团的每一步都备受业界关注,也期待它能继续引领行业前行,为用户创造更多价值。
相关阅读
-
ipadmini2现在还能用吗,苹果ipadmini2现在还能用吗
2023年ipadmini2还能用吗?根据目前的技术发展趋势来看,2023年的iPad mini 2可能已经过时,无法满足最新的软件和应用程序的要求。随着时间的推移,新的操作系统和应用程序通常需要更高的处理能力和更大的内存。因此,尽管iPa
-
华为p20pro,华为p20pro上市时间和价格
华为P20 Pro值得入手吗?你好,华为p20pro是一款非常不错的手机。如果你没有以下问题,那是真心非常建议你立即下手购买的了。1,如果你很穷,只买得起红米、小米,那么,很显然,你不值得入手华为p20rpo的了。2,如果你就是看不惯国产手
-
越南计划成为半导体领先国家,雄心壮志与挑战并存
随着全球半导体市场的不断扩大和技术的飞速发展,越南作为一个具有潜力和优势的新兴经济体,正计划成为半导体领域的领先国家,这一雄心壮志的背后,既体现了越南政府对半导体产业重要性的认识,也反映了该国在半导体领域的独特优势和发展潜力,本文将探讨越南
-
深度解析,三星I9100——一部经典的智能手机传奇
亲爱的读者,你是否曾对一款手机的历史和影响力感到好奇?我们要聊的是那个曾经风靡全球,引领智能手机潮流的明星——三星Galaxy S II,型号为I9100,这款手机就像一部活生生的历史教科书,展示了科技与设计如何完美融合,让我们一起走进它的
-
深度探索,联想A370e手机,实用与创新的完美结合
在这个科技日新月异的时代,一款优质的手机不仅是我们日常生活中的得力助手,更是我们了解科技魅力的窗口,我们将聚焦联想A370e,这款以实用性和创新性并重的智能手机,带你走进它的世界,感受其独特的魅力。联想A370e的外观设计:简约而不简单联想
-
风车动漫网,探索动画世界的瑰宝与创新引擎
在信息爆炸的现代社会,我们有幸拥有一种名为“动漫”的艺术形式,它以独特的视觉语言和丰富的情感内涵,引领我们走进一个充满想象力的奇幻世界,我要向大家介绍的就是这样一个充满活力与创新精神的平台——风车动漫网。风车动漫网,这个名字本身就蕴含着对传
