千禾味业零添加商标申请遭阻,其商业版图究竟如何布局?
近期,“千禾0”酱油被曝出含有镉成分,此事迅速引起了公众的广泛关注。网络上出现了不少声音,指出“千禾0”仅是一个商标名称,并不直接等同于“零添加”的概念。
据天眼查信息显示,千禾味业食品股份有限公司的历史可以追溯到1996年1月,公司的法定代表人为伍超群,注册资本高达约10.3亿元人民币。该公司的业务范围相当广泛,涵盖了食品的生产与销售,以及食品添加剂的生产等多个领域。股权结构方面,伍超群、伍建勇、伍学明等人共同持有公司股份。
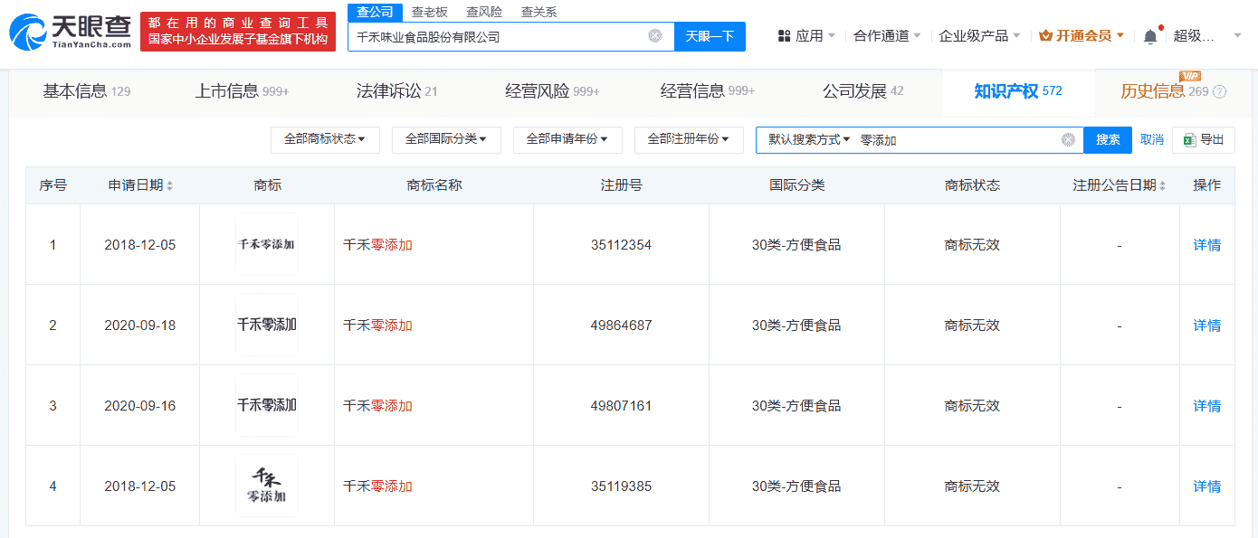
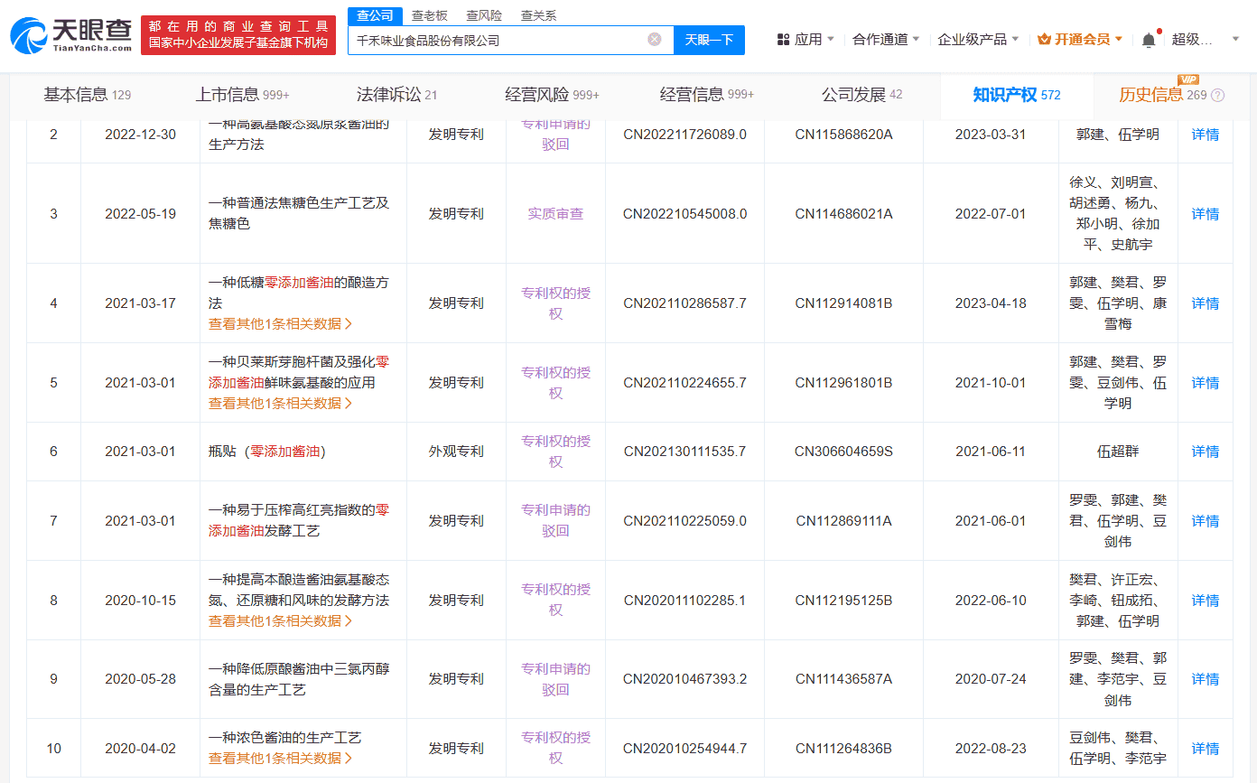
在知识产权领域,千禾味业已经成功注册了多个“千禾 0”和“千禾 0+”的商标。然而,值得注意的是,该公司申请的4枚“千禾零添加”商标却并未如愿以偿,目前均处于无效状态。尽管如此,千禾味业在“零添加酱油”方面依然有所布局,专利信息显示,他们已经申请了多个相关专利,例如“一种低糖零添加酱油的酿造方法”和“一种贝莱斯芽胞杆菌及强化零添加酱油鲜味氨基酸的应用”等。
在对外投资方面,千禾味业也展现出了积极的姿态。据天眼查数据显示,该公司全资持有6家公司,其中4家目前仍处于存续状态。

此次“千禾0”酱油被检测出镉的事件,无疑给消费者带来了不小的震动。对于食品安全问题,消费者总是格外敏感和关注。虽然“千禾0”并不等同于“零添加”,但许多消费者在购买时仍然倾向于选择那些看似更加健康、无害的产品。

对于千禾味业来说,这次事件无疑是一次严峻的考验。如何在保证产品质量的同时,重建消费者信任,将是他们接下来需要面对的重要课题。

食品安全无小事,每一次事件的发生都会引发公众对于整个行业的关注和反思。希望千禾味业能够以此为契机,进一步加强产品质量管理,为消费者提供更加安全、健康的产品。

同时,也提醒广大消费者,在购买食品时,除了关注商标和宣传语外,更要仔细阅读产品成分表和生产信息,确保购买到真正符合自己需求的产品。
相关阅读
-
ipadmini2现在还能用吗,苹果ipadmini2现在还能用吗
2023年ipadmini2还能用吗?根据目前的技术发展趋势来看,2023年的iPad mini 2可能已经过时,无法满足最新的软件和应用程序的要求。随着时间的推移,新的操作系统和应用程序通常需要更高的处理能力和更大的内存。因此,尽管iPa
-
华为p20pro,华为p20pro上市时间和价格
华为P20 Pro值得入手吗?你好,华为p20pro是一款非常不错的手机。如果你没有以下问题,那是真心非常建议你立即下手购买的了。1,如果你很穷,只买得起红米、小米,那么,很显然,你不值得入手华为p20rpo的了。2,如果你就是看不惯国产手
-
越南计划成为半导体领先国家,雄心壮志与挑战并存
随着全球半导体市场的不断扩大和技术的飞速发展,越南作为一个具有潜力和优势的新兴经济体,正计划成为半导体领域的领先国家,这一雄心壮志的背后,既体现了越南政府对半导体产业重要性的认识,也反映了该国在半导体领域的独特优势和发展潜力,本文将探讨越南
-
深度解析,三星I9100——一部经典的智能手机传奇
亲爱的读者,你是否曾对一款手机的历史和影响力感到好奇?我们要聊的是那个曾经风靡全球,引领智能手机潮流的明星——三星Galaxy S II,型号为I9100,这款手机就像一部活生生的历史教科书,展示了科技与设计如何完美融合,让我们一起走进它的
-
深度探索,联想A370e手机,实用与创新的完美结合
在这个科技日新月异的时代,一款优质的手机不仅是我们日常生活中的得力助手,更是我们了解科技魅力的窗口,我们将聚焦联想A370e,这款以实用性和创新性并重的智能手机,带你走进它的世界,感受其独特的魅力。联想A370e的外观设计:简约而不简单联想
-
风车动漫网,探索动画世界的瑰宝与创新引擎
在信息爆炸的现代社会,我们有幸拥有一种名为“动漫”的艺术形式,它以独特的视觉语言和丰富的情感内涵,引领我们走进一个充满想象力的奇幻世界,我要向大家介绍的就是这样一个充满活力与创新精神的平台——风车动漫网。风车动漫网,这个名字本身就蕴含着对传

