司马南工作室正式起航,商标申请成功,抢注风波尘埃落定
近日,国家税务总局北京市税务局稽查局对外通报了知名评论人士司马南涉及的偷税案件处理详情。调查结果显示,在2019年至2023年期间,司马南通过多种方式,包括但不限于隐匿个人收入及虚假税务申报,共计少缴个人所得税、增值税等税款达到462.43万元。
司马南实际控制的一家位于北京的影视策划中心也被查出存在税务违规行为。该企业通过虚构成本开支,并违规享受小微企业税收优惠政策,从而少缴企业所得税75.32万元。针对上述违法行为,国家税务总局北京市税务局稽查局决定对司马南个人及其实际控制的企业进行追缴税款处理,同时加收滞纳金并处以罚款,总计金额高达926.94万元。
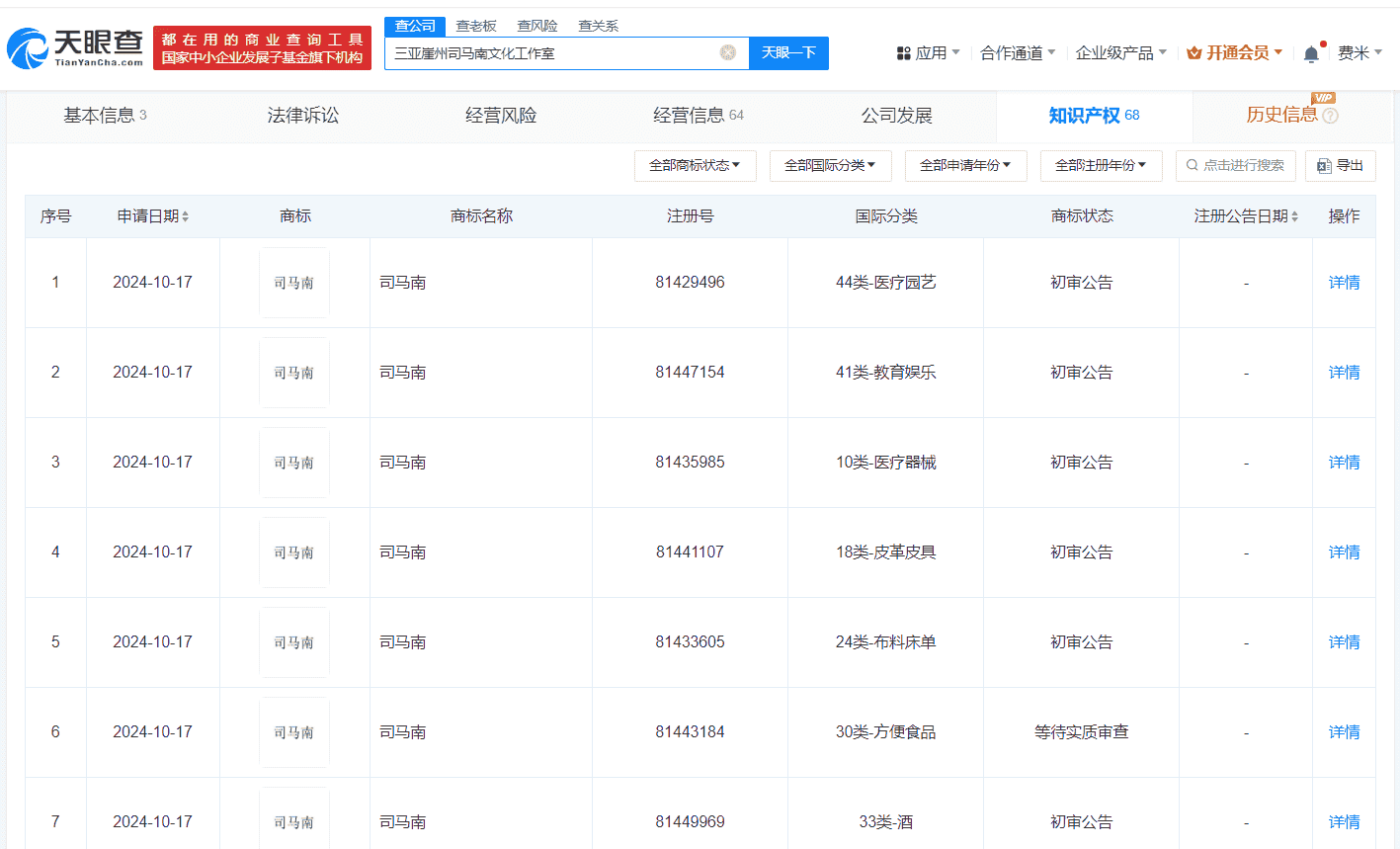
在商业品牌方面,据天眼查信息显示,司马南名下拥有一家位于三亚崖州的文化工作室,该工作室已申请注册了多枚“司马南”商标。这些商标的国际分类涵盖了教育娱乐、广告销售、社会服务等多个领域,其中部分商标目前正处于初审公告阶段。

值得注意的是,“司马南”这一名称也被其他多家企业申请注册为商标。申请人包括广西、深圳、成都等地的科技公司及酒业公司等,涉及的国际分类包括服装鞋帽、啤酒饮料等。然而,据天眼查数据显示,部分此类商标申请已被驳回,目前处于无效状态。

此次税务违规案件的曝光,不仅引发了公众对名人税务合规性的广泛关注,也再次提醒所有企业和个人应严格遵守国家税收法规,避免任何形式的偷税漏税行为。
相关阅读
-
ipadmini2现在还能用吗,苹果ipadmini2现在还能用吗
2023年ipadmini2还能用吗?根据目前的技术发展趋势来看,2023年的iPad mini 2可能已经过时,无法满足最新的软件和应用程序的要求。随着时间的推移,新的操作系统和应用程序通常需要更高的处理能力和更大的内存。因此,尽管iPa
-
华为p20pro,华为p20pro上市时间和价格
华为P20 Pro值得入手吗?你好,华为p20pro是一款非常不错的手机。如果你没有以下问题,那是真心非常建议你立即下手购买的了。1,如果你很穷,只买得起红米、小米,那么,很显然,你不值得入手华为p20rpo的了。2,如果你就是看不惯国产手
-
越南计划成为半导体领先国家,雄心壮志与挑战并存
随着全球半导体市场的不断扩大和技术的飞速发展,越南作为一个具有潜力和优势的新兴经济体,正计划成为半导体领域的领先国家,这一雄心壮志的背后,既体现了越南政府对半导体产业重要性的认识,也反映了该国在半导体领域的独特优势和发展潜力,本文将探讨越南
-
深度解析,三星I9100——一部经典的智能手机传奇
亲爱的读者,你是否曾对一款手机的历史和影响力感到好奇?我们要聊的是那个曾经风靡全球,引领智能手机潮流的明星——三星Galaxy S II,型号为I9100,这款手机就像一部活生生的历史教科书,展示了科技与设计如何完美融合,让我们一起走进它的
-
深度探索,联想A370e手机,实用与创新的完美结合
在这个科技日新月异的时代,一款优质的手机不仅是我们日常生活中的得力助手,更是我们了解科技魅力的窗口,我们将聚焦联想A370e,这款以实用性和创新性并重的智能手机,带你走进它的世界,感受其独特的魅力。联想A370e的外观设计:简约而不简单联想
-
风车动漫网,探索动画世界的瑰宝与创新引擎
在信息爆炸的现代社会,我们有幸拥有一种名为“动漫”的艺术形式,它以独特的视觉语言和丰富的情感内涵,引领我们走进一个充满想象力的奇幻世界,我要向大家介绍的就是这样一个充满活力与创新精神的平台——风车动漫网。风车动漫网,这个名字本身就蕴含着对传

